气象传感器-微型气象仪厂家价格型号 网站地图
气象传感器生产厂家

做微型气象仪,防爆气象传感器优良供应商

咨询热线:
13276363313
电话
土壤养分测定仪-恒美农业仪器
位置 您当前位置:首页>>应用方案

防爆传感器化工园区防爆罐区气象环境监测应用解决方案

作者:ITB8888通博环境科技有限公司更新时间:2022-05-05 17:27:43

风速和风向是自然气候监测中主要的数据,,每天它们都会发生变化,在工业中人们常利用它们来避免大风天气对工业生产造成的破坏,也为防火指挥提供有力数据信息,因此人们对风速风向仪的测量变得尤为重要,过去传统的人工观测早被专业仪器所取代。

    AQ 3036-2010 危险化学品重大危险源 罐区 现场安全监控设备设置规范中 就提出4.2.7 罐区应实时检测风速、风向、环境温度等参数。

防爆气象站能够动态显示各罐区站点周围实时的气象信息,帮助调度员进行综合气象分析。针对化工企业而开发的环境监测系统,旨在为企业开展危化产品的生产、储运和特发事件应急管理提供实时气象服务。此外,通过导入省内各基建工地位置信息,该系统还可以帮助建设单位及时调整工作安排,减少恶劣天气对工程进度的影响。

山东ITB8888通博环境科技有限公司作为专业研发生产销售一体化防爆气象传感器的企业,一直致力于微型气象仪和气象环境解决方案推广应用。具有完整的生产链、实力雄厚的技术团队和全面的营销团队,我们研发生产的超声波防爆风速风向仪、防爆五要素微气象仪等气象产品,已广泛应用到化工厂、油库、隧道、矿井等领域,客户遍布全国各地,并取得了良好的社会效益和经济效益。与传统的微型气象仪相比,我司产品克服了对高精度计时器的需求,避免了因传感器启动延时、解调电路延时、温度变化而造成的测量不准问题。

TH-WFB5型防爆五要素微气象仪创新性地将风速、风向、温度、湿度、大气压力通过一个高集成度结构来实现,可实现户外气象参数24小时连续在线监测,通过数字量通讯接口将五项参数一次性输出给用户。

产品特点

1、顶盖隐藏式超声波探头,避免雨雪堆积的干扰,避免自然风遮挡(实用新型专利,专利号ZL 2020 2 3215713.X)☆

2、原理为发射连续变频超声波信号,通过测量相对相位来检测风速风向(发明专利,专利号ZL 2021 1 0237536.5)☆

3、风速、风向、温度、湿度、大气压力五要素一体式(实用新型专利,专利号ZL 2020 2 3215649.5)☆

4、采用先进的传感技术,实时测量,无启动风速☆

5、抗干扰能力强,具有看门狗电路,自动复位功能,保证系统稳定运行

6、高集成度,无移动部件,零磨损

7、免维护,无需现场校准

8、采用ASA工程塑料室外应用常年不变色

9、产品设计输出信号标配为RS485通讯接口(MODBUS协议);可选配232、USB接口,支持数据实时读取☆

10、探头为卡扣式设计,解决了运输、安装过程松动不准的问题☆

11、具有Ex ia IIC T4 Ga高等级防爆证书☆

技术参数

1)风速:原理超声波,0~70m/s(±0.1m/s);(北京市气象校准证书)☆

2)风向:原理超声波0~360°(±1°);(北京市气象校准证书)☆

3)空气温度:原理二极管结电压法,-40℃~85℃(±0.3℃);(北京市气象校准证☆书)

4)空气湿度:原理电容式,0~100%RH(±2%RH);(北京市气象校准证书)☆

5)大气压力:原理压阻式,300hPa~1100hPa(±0.02hPa);(北京市气象校准证书)☆

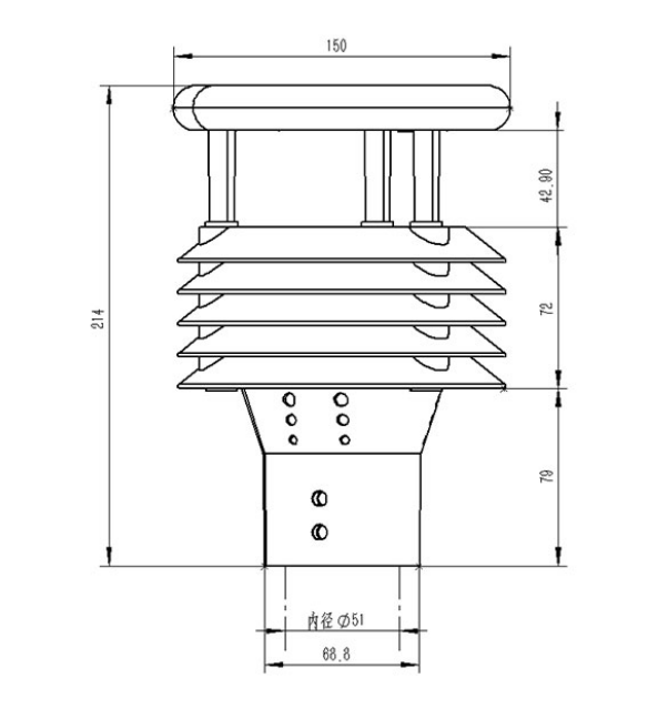
产品尺寸图

图片4.png

产品结构图

图片5.png

1、控制电路

2、指北箭头

3、超声波探头

4、百叶箱

5、温度、湿度、气压监测位置

6、底部固定法兰(选配)


应用案列图

图片6.png


文章地址:http://www.hongxinzixun.com/jjfa/601.html
返回
网站地图